随着信息技术的飞速发展,建筑信息模型(BIM)技术在桥梁施工领域的应用日益广泛。通过BIM技术的应用,可以实现对桥梁工程全生命周期的管理,提高设计、施工和运维的效率与质量。BIM技术能够为桥梁施工提供精确的设计图纸,实现三维可视化,便于工程师进行施工方案的制定和优化。BIM技术还可以用于施工现场的管理和协调,提高施工效率,降低安全风险。
型钢梁柱施工技术的最新进展
钢桁架无支架悬挂施工技术
中国五冶集团在成温路项目中首创的“钢桁架无支架悬挂施工技术”受到了广泛关注。这项技术是在地铁施工站台基坑开挖影响的情况下,为了解决成温路改造工程中青羊大道口7个墩柱盖梁进城右侧半边悬空,且左侧必须保证交通通行的问题而开发的。传统的支架搭设方法在这种情况下无法实施,因此,中国五冶集团采用了“钢桁架无支架悬挂施工技术”。该技术通过在施工完毕的墩柱承台上架立四根钢管立柱作为支撑,四根钢管立柱顶端横挑型钢,通过型钢上设置桁架受力,型钢下挂支撑模板体系完成模板固定。这种技术特别适用于城市桥梁施工场地狭窄、地下开挖基坑无法搭设支架、同时又要保证底层道路车辆通行的情况。
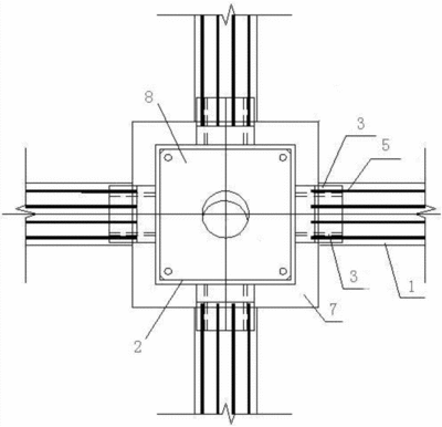
基于BIM技术的型钢混凝土组合结构梁柱节点施工
基于BIM(Building Information Modeling)技术的型钢混凝土组合结构梁柱节点施工工法是近年来发展的另一项重要技术。传统的混凝土梁柱节点施工存在材料浪费、施工效率低下等问题。而基于BIM技术的型钢混凝土组合结构梁柱节点施工工法则能够有效解决这些问题,并提高整体施工质量和效率。该技术的特点包括系统化设计、模块化制造和快速安装。通过BIM技术,可以将整个梁柱节点系统进行三维设计和优化,确保各个部位之间的协调性和一致性。模块化生产方式则可以将类型相同或类似的构件进行批量制造,提高产品质量并缩短制造周期。最后,借助模块化设计,安装过程变得更加迅速和高效。
结论
型钢梁柱施工技术在近年来取得了显著进展,特别是在解决复杂施工环境下的技术难题方面。无论是“钢桁架无支架悬挂施工技术”还是基于BIM技术的型钢混凝土组合结构梁柱节点施工工法,都展示了现代工程技术在提高施工效率、保证施工质量和适应特殊施工条件方面的巨大潜力。这些技术的应用不仅提升了建筑施工的整体水平,也为未来的工程实践提供了新的思路和方法。





钢桁架无支架技术应用案例
BIM技术在桥梁施工中的应用
型钢梁柱施工技术创新趋势
城市桥梁施工技术挑战


